遥控类微控制电路(Remote Controller Type MCUJTMB35P02 JTMB35P02R,低功耗 8 位 OTP 型微控制器单元(MCU),并带有内置高精 度振荡器,及一个可直接驱动红外发射管的遥控码输出口,适用于各类家电(如电视、VCD 机等) 的红外遥控器
目录
1.产品概述 2.产品特点 3.应用范围 4.技术规格书下载(PDF文档)
5.产品封装 6. 7.相关产品
JTMB35P02 JTMB35P02R 是一款低功耗 8 位 OTP 型微控制器单元(MCU),并带有内置高精
度振荡器,及一个可直接驱动红外发射管的遥控码输出口,适用于各类家电(如电视、VCD 机等)
的红外遥控器。
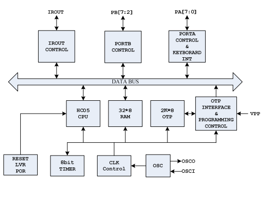
8 位 CISC 结构 CPU(Motorola HC05 兼容)
最多可支持 16 个通用 IO 口和 1 个输入口
1 个 8 位定时/计数器
9 路键盘中断(KBI)
1 路遥控码输出口(IROUT),8 种载波频率可选(1/3 占空比),驱动能力强(>300mA)
外接晶振 325K-8MHz/内置 RC 振荡 4MHz(偏差≤5%,0-40℃, 2.0-3.6V 工作电压 范围内)
低功耗设计(待机功耗<1uA@3V)
32 byte RAM(含堆栈)
2K*8 bit OTP ROM
OTP 数据加密功能
工作电压 2.0-5.5V
封装形式:SOP20(300mil)/SOP18(300mil)/SOP16(150mil)
三.应用范围
各类家电(如电视、VCD 机等)的红外遥控器
四.技术规格书(产品PDF)
需要详细的PDF规格书请扫一扫微信联系我们,还可以获得免费样品以及技术支持!

五.产品封装图</span>

六.电路原理图</strong>
七.相关芯片选择指南
|
遥控类微控制电路(Remote Controller Type MCU ) |
||||||||||
|
Part No. |
VDD |
ROM |
RAM |
TIMER |
OSC |
I/O |
SCI/IR |
PKG |
INT |
Datasheet |
|
JTMB35P02 |
2~3.6V |
2K x8 OTP ROM |
32B |
1 x8bit |
325kHz~8MHz |
14 |
1 xIR |
SOP20 SOP16 |
2 |
|
|
JTMB35P02R |
2~3.6V |
2K x8 OTP ROM |
32B |
1 x8bit |
325kHz~8MHz |
16 |
1 xIR |
SOP20 SOP18 |
2 |
|
|
IRC 4MHz |
SOP16 |
|||||||||

中文
English
发表评论